|
КАТАЛОГ ИНМОР
|
|
|
|
|
(812) 33 33 389
|
|
| |
| КЛАПАНЫ ОБРАТНЫЕ (НЕВОЗВРАТНЫЕ) |
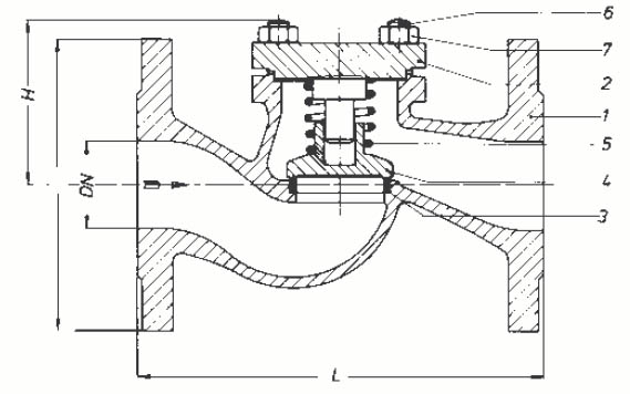
Клапаны невозвратные фланцевые PN 40 Рис. 04-010
|
клапаны невозвратные проходные, PN 40
|
Проводимые среды: воздух, вода пресная, масло, пар, топливо, вода морская, газ, кислоты, конденсат.
|
|
DIN 86253-01
|
|
чугун GSC-25, внутренние детали –нерж. сталь
|
|
с внутренним подпружиниванием
|
|
размер по фланцам в соотв. с DIN 3202/EN 558 F1
|
|
фланцы в соотв. с DIN PN 40
|
|
рабочее давление и
|
|
температура в соотв. с DIN 2401
|
|
Перечень материалов:
корпус: SC-25 1.0619
крышка: SC-25 1.0619
седло: нерж. сталь 1.4021
тарелка: нерж. сталь 1.4021

тип 04-010
|
|
NW/DN
|
L
|
D
|
PCD
|
отв.
|
H
|
KG
|
|
15
|
130
|
95
|
65
|
4x 14
|
80
|
3,0
|
|
20
|
150
|
105
|
75
|
4x 14
|
83
|
4,0
|
|
25
|
160
|
115
|
85
|
4x 14
|
89
|
5,0
|
|
32
|
180
|
140
|
100
|
4x18
|
85
|
6,5
|
|
40
|
200
|
150
|
110
|
4x18
|
105
|
8,5
|
|
50
|
230
|
165
|
125
|
4x18
|
105
|
12
|
|
65
|
290
|
185
|
145
|
8x 18
|
128
|
18
|
|
80
|
310
|
200
|
160
|
8x 18
|
140
|
23
|
|
100
|
350
|
235
|
190
|
8x22
|
166
|
47
|
|
125
|
400
|
270
|
220
|
8x26
|
225
|
66
|
|
150
|
480
|
300
|
250
|
8x26
|
240
|
105
|
|
200
|
600
|
375
|
320
|
12x30
|
268
|
210
|
|
250
|
730
|
450
|
385
|
12x33
|
355
|
230
|
Так же Вы можете сохранить эту главу каталога, перейдя в раздел "КАТАЛОГ"
Для получения уточнений и дополнительной информации просим Вас связаться с нами любыми удобными Вам средствами связи.
С уважением,информационный отдел компании "Инмор"
|
Наша судовая арматура сертифицирована в РМРС и РРР. Возможна поставка с сертификатами DNV, GL, Bureau Veritas, Rina
|